安全ブロック(墜落防止器具)

建設工事現場・梯子での昇降など、高所作業に従事する作業者の安全確保のための墜落防止器具です。
万一の落下にも確実に、安全に作動する小型・軽量の安全ブロック。
吊り下げロープがベルトとワイヤーロープ、2種がございます。
ケースは衝撃に強く、割れにくいよう鉄板で補強したグラスファイバー入り樹脂を使用しています。
短い距離で落下を止める際の衝撃軽減機能「すべりクラッチ」の採用で、衝撃荷重を3.5kN(公称)まで軽減し、万一の時にも、人にやさしい性能を追求しています。
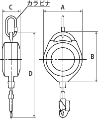
仕様表
| 商品コード | 245257 | 245250 | 245270 | 245268 | |
|---|---|---|---|---|---|
| 商品名 | セルロック5.7mベルト式 | セルロック12m | セルロック20m | セルロック25m | |
| メーカー | 藤井電工 | トーヨーコーケン | |||
| メーカー名称 | ベルブロック 昇降用ベルト巻取式 | リトラクタ式墜落防止装置 キーパー | |||
| 型式 | BB-60-SN | KP-12 | KP-20 | KP-25 | |
| 使用体重 (kg) | 120以下 | 30~100 | |||
| 吊り下げ ロープ |
種類 | ベルト | ワイヤーロープ | ||
| 寸法 (mm×m) | 幅18×長5.8(余巻含む) | φ4×長12 | φ4×長20 | φ4×長25 | |
| ランヤード長さ (m) | 5.7 | 12 | 20 | 25 | |
| 停止距離 (cm) ※1 ※4 | ― | 50~100 | |||
| 衝撃荷重 (kN) ※4 | 5.7 | 3~4 | |||
| 動作速度 ※2 | ― | 約2m/秒 | |||
| ロープ戻り力 (kg) ※3 | ― | 1~2 | |||
| 自重 (kg) | 1.4 | 4.2 | 7.4 | 7.7 | |
| 寸法 (mm) | A | 182 | 198 | 257 | 257 |
| B | 162 | 262 | 329 | 329 | |
| C | 67 | 90 | 122 | 122 | |
| D | ― | 450 | 500 | 500 | |
| 付属品 | カラビナ、引寄せロープ、台付けロープ | 引き寄せロープ、カラビナ | |||
- ※1 停止距離は使用体重85kgの場合。(使用体重が軽いと短くなり、重いと長くなります)
- ※2 動作速度はすべりクラッチが働くロープの引出し速度です。
- ※3 ロープ戻り力は自動巻取り機能によるワイヤロープの引張り力です。
- ※4 停止距離および衝撃荷重は、労働安全衛生総合研究所の「安全帯構造指針」に基づく試験方法の結果となります。
寸法図




